关务申报
-
出口退税率文库2024C版下载
国家税务总局各省、自治区、直辖市和计划单列市税务局,国家税务总局驻各地特派员办事处: 根据《财政部 税务总局关于调整出口退税政策的公告》(2024年第15号)有关出口退税率调整的规…
-
带您了解出口商品退税率如何查询?



一、电子税务局【出口文库查询】模块 登录电子税务局,点击【我要查询】-【一户式查询】-【出口文库查询】 进入页面后,录入“商品代码”、“商品名称”、“税种”、“征免类型”等筛选条件…
-
海关监管(贸易)方式代码表
海关监管(贸易)方式代码表(99条) 监管方式代码表说明 进出口货物海关监管方式(以下简称监管方式),即现行进出口货物报关单“监管方式”,是以国际贸易中进出口货物的交易方式为基础,…
-
2025年1月1日海关编码新增变更停用及税则参数总表



2025年1月1日海关编码新增变更停用及税则参数总表 1、编码变更列表 2、更新主列表 3、海关停用编码列表 4、海关新增编码列表 5、申报要素变更列表 6、税则总表
-
2025年1月1日海关商品编码更新表及申报要素描述变更对照表
2025年1月1日海关商品编码更新表及2025申报要素描述变更对照表 申报要素名称发生变更,并且涉及到的申报要素内容值存在变化,故请注意,内容如下: 旧值:制作或保存方法(鲜、干等…
-
注意!2025年起海关实施显卡类商品新申报规范
自2025年1月1日起,海关实施显卡类商品新申报规范,主要针对进口84718000项下商品名称为“显卡”、“显卡模组”、“计算卡”、“视频卡”、“ 图形处理器”、“数据加速卡”等显…
-
国务院关税税则委员会关于2025年关税调整方案的公告
国务院关税税则委员会关于2025年关税调整方案的公告 税委会公告2024年第12号 为深入贯彻落实党的二十大和二十届二中、三中全会精神,充分发挥关税宏观调控作用,支持发展新质生…
-
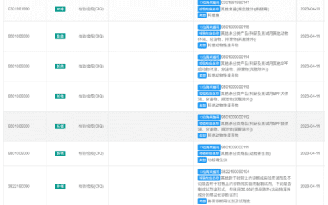
海关HS编码数据更新情况2024-12-24(检验检疫(CIQ)代码变更5个)
海关HS编码数据更新情况2024-12-24(检验检疫CIQ代码变更5个) 海关编码 类型 新增后数据 0306399090 新增CIQ代码107 类型:其他甲壳动物;名称:其他活…
-
海关HS编码数据更新情况2024-12-14(新增HS编码10个、商品名称变更7个、监管类别名称变更72个)
海关HS编码数据更新情况2024-12-14(新增HS编码10个、商品名称变更7个、监管类别名称变更72个) HS编码 描述 3208100020 同时满足以下指标的用于集成电路生…
-
海关HS编码数据更新情况2024-12-12(检验检疫CIQ代码变更27个)
海关HS编码数据更新情况2024-12-12(检验检疫CIQ代码变更27个) 海关编码 类型 新增后数据 修改前数据 修改后数据 0713329000 修改 CIQ代码101 类型…
-
进出口货物海关监管方式代码表下载
监管方式代码表说明(更新于2024/12/11,共计99条数据) 进出口货物海关监管方式(以下简称监管方式),即现行进出口货物报关单“监管方式”,是以国际贸易中进出口货物的交易方式…
-
海关进出口国别(地区)代码表下载
国家(地区)代码相关说明 (更新于2024/12/11,共计243条数据。) 1.我们可以在海关进出口税则中按以下路径查询,“通关代码表,报关单填制” 2.报关单自动化…