重要提醒,2026年1月1日海关商品编码已更新。
文件内容包含:编码变更列表.xlsx、海关停用编码列表.xlsx、海关新增编码列表.xlsx、申报要素变更列表.xlsx、税则总表.xlsx、更新主列表.xlsx
特别说明
对照 2026年商品编码变化,温馨提示:
1、涉及加工贸易手账册及其它保税监管账册,备案料件、成品商品编码有变更的,需尽快变更手账册,以免影响料件进口,或成品出口。
2、涉及配额、许可证等一般有效期为1年,不能跨年,年初换证或申请时请注意商品编码是否有更新。
3、注意监管要求或申报要素系统的变化,建议新年开始可提前在单一窗口预录单对比系统提示确认变化,或与2026年海关纸质版税则或海关实用手册作详细对比。
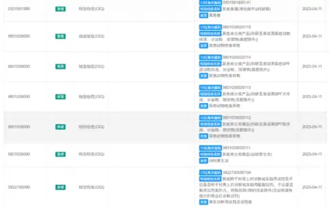
附件2026年度海关综合参数总表:

申报要素名称发生变更,并且涉及到申报要素内容值存在变化,请注意内容如下:
旧值:4:状态(是否全虾、去头、去肠线,去尾、带壳、去壳、 新值:4:状态(是否全虾、去头、去肠线,去尾、带壳、去壳、裹
旧值:3:脂肪含量(按重量计) 新值:3:脂肪含量(按重量计,填百分比)
旧值:3:成分含量 新值:3:营养元素含量


转载作品,原作者:关衡关务集团,文章来源:https://mp.weixin.qq.com/s/q16YyI7UpKhj2lUIr43RCA
微信赞赏
支付宝赞赏 