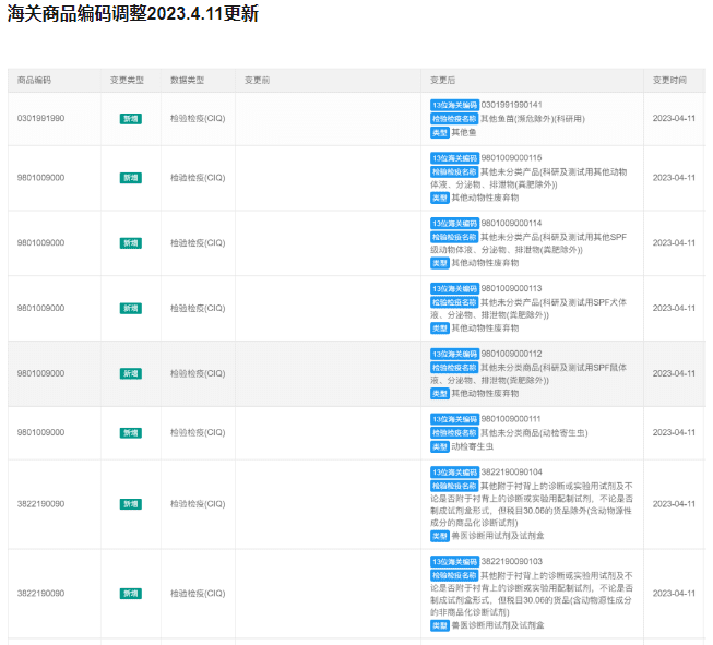
2023年4月11日,海关总署对部分商品编码的检验检疫名称、类型、CIQ代码做了调整,变更记录共112条(参考文末调整汇总表)。请相关单位及时留意新调整并规范申报。

回复可下载。
原创文章,作者:howkunet,如若转载,请注明出处:https://www.intoep.com/ecommerce/customs/4386.html
2023年4月11日,海关总署对部分商品编码的检验检疫名称、类型、CIQ代码做了调整,变更记录共112条(参考文末调整汇总表)。请相关单位及时留意新调整并规范申报。
2023年4月11日,海关总署对部分商品编码的检验检疫名称、类型、CIQ代码做了调整,变更记录共112条(参考文末调整汇总表)。请相关单位及时留意新调整并规范申报。

回复可下载。
原创文章,作者:howkunet,如若转载,请注明出处:https://www.intoep.com/ecommerce/customs/4386.html
微信赞赏
支付宝赞赏
评论列表(6条)
悄悄
悄悄
眯眯
厉害
下载
Thanks again